




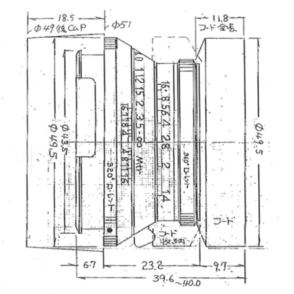
Last month MS-Optical announced this limited edition Reiroal M 35mm f/1.4 MC Platinum Chrome lens in Japan. Only 100 pieces were produced and I believe they are all sold out (check eBay). Additional information (in Japanese):

More information is available at: DCwatch | MapCamera | Dicahub.
More MS Optics lenses can be found here. MS Optics lenses can be purchased at:
















